Magnetic Speed Sensors

Three-Wire, Differential, Vibration-Resistant Gear Tooth Sensor IC with Speed and Direction Output

ATS693

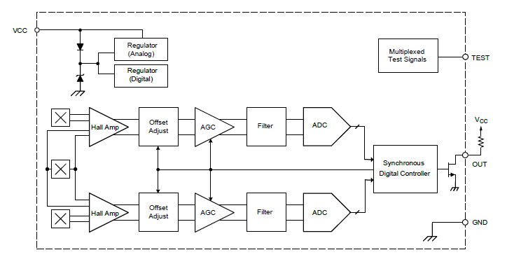
The ATS693LSG provides precise speed and direction information for gear tooth sensing applications, featuring a three-wire interface, vibration resistance, and robust performance in harsh environments.

Product Details

Top Features

  • Three-wire, pulse width output protocol
  • Digital output representing target profile
  • Speed and direction information of target
  • Vibration tolerance
    • Small signal lockout for small amplitude vibration
    • Proprietary vibration detection algorithms for large amplitude vibration
  • Air gap independent switch points
  • Large operating air gap capability
  • Undervoltage lockout
  • True zero-speed operation
  • Wide operating voltage range
  • Single chip sensing IC for high reliability
  • Robust test coverage capability with Scan Path and IDDQ measurement
Target Application

Part Number Specifications and Availability

Design Tools