Magnetic Speed Sensors

Miniature Two-Wire Gear Tooth Sensor IC with True Zero-Speed Operation

ATS682

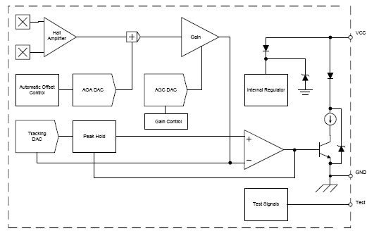
The ATS682 provides accurate and reliable gear tooth sensing with true zero-speed performance, a miniature two-wire interface, and integrated signal processing for robust operation in automotive applications.

Product Details

Top Features

  • True zero-speed operation
  • Automatic Gain Control (AGC) for air gap independent switchpoints
  • Automatic Offset Adjustment (AOA) for signal processing optimization
  • Running-mode calibration for continuous optimization
  • Precise duty cycle over operating temperature range
  • Internal current regulator for two-wire operation
  • Undervoltage lockout
  • On-chip voltage regulator with wide operating voltage range and stability in the presence of a variety of complex load impedances
  • Single chip IC for high reliability
Target Application

Part Number Specifications and Availability

Design Tools

Technical Documentation