Magnetic Speed Sensors
Dual Output Differential Speed and Direction Sensor IC with Integrated Back-Bias Magnet
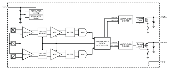
ATS605
The ATS605LSG provides precise speed and direction sensing for ferrous gear targets, featuring dual outputs, open-drain outputs for mirroring target shape, and an integrated back-bias magnet for simplified design.
Product Details
Product Details
Top Features
- Two independent digital outputs representing the sensed target’s mechanical profile
- Optional output with high resolution position and direction detection information
- Air gap independent switch points
- Integrated back-biasing magnetic circuit
- Immunity to external magnetic interference
- Wide operating voltage range
- Single chip IC for high reliability
- Robust test coverage and reliability using Scan and IDDQ test methodologies
- Optional Double-Bandwidth configuration
Target Application
- Industrial Motor Control
- Exercise Machines
- Factory/Process Automation
- Turbo
Part Number Specifications and Availability
Design Tools
Technical Documentation
Application Note
Magnetic Encoder Design for Electrical Motor Driving a Dual-Channel Differential Magnetic Speed Sensor IC
Application Note
Speed Sensor Protocols
Application Note
Fundamental Properties of Speed Sensors
Guide
Guidelines for Designing Subassemblies Using Hall-Effect Devices
Technical Article