Magnetic Position Sensors

High-Precision Programmable Linear Hall-Effect Sensor IC with PWM Output

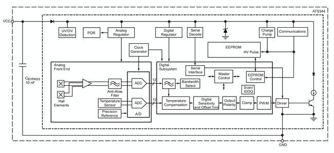
ATS344

The ATS344 provides highly accurate and customizable linear position sensing, featuring a two-wire PWM output, integrated EEPROM for flexible programming, and an integrated rare-earth pellet package for simplified design.

Product Details

Top Features

  • Magnetic sensor IC with integrated rare-earth pellet
  • Two-wire current mode PWM (pulse-width modulation) output
  • Customer-programmable position range selection and offset, bandwidth, output clamps, and temperature compensation
  • Sensitivity temperature coeff icient and offset drift preset at Allegro
  • Temperature-stable, mechanical stress immune, and low noise device output via proprietary active stress compensation and four-phase chopper stabilization design techniques
  • Wide ambient temperature range: –40°C to 150°C
  • Operates with 3.75 to 9.5 V supply voltage
  • Differential linear signal processing
  • AEC-Q100 qualified
Target Application

Part Number Specifications and Availability

Design Tools