Switches and Latches

Precision Hall-Effect Switch for Consumer and Industrial Applications

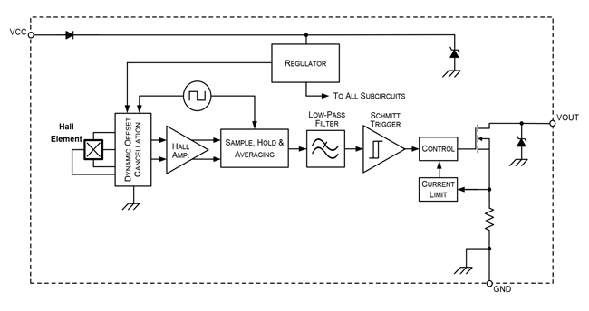
APS13295

The APS13295 provides accurate and reliable switching for consumer and industrial applications, with chopper stabilization minimizing offset drift and enhanced temperature stability.

Product Details

Top Features

  • Unipolar switchpoints
  • Superior ruggedness and fault tolerance
  • Reverse-polarity and transient protection
  • Operation from –40°C to 175°C junction temperature
  • Output short-circuit and overvoltage protection
  • Superior temperature stability
  • Resistant to physical stress
  • High EMC immunity, ±12 kV HBM ESD
  • Operation from unregulated supplies, 2.8 to 24 V
  • Chopper stabilization
  • Solid-state reliability
  • Industry-standard packages and pinouts

Part Number Specifications and Availability

Design Tools