Switches and Latches

High-Temperature Precision Hall-Effect Latches for Automotive Applications

APS12200-10-30

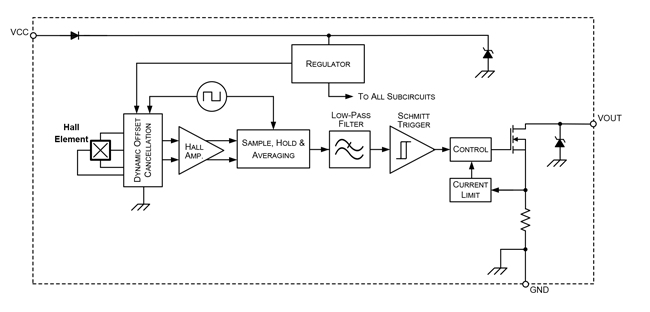
These high-temperature Hall-effect latches are designed for demanding automotive applications, offering extended operating temperature range (up to 175°C) and enhanced system robustness with integrated protection features.

Product Details

Top Features

  • Symmetrical latch switchpoints
  • Automotive-grade ruggedness and fault tolerance
    • Extended AEC-Q100 qualification
    • Reverse-battery and 40 V load dump protection
    • Operation from –40°C to 175°C junction temperature
    • High EMC immunity, ±12 kV HBM ESD
    • Output short-circuit and overvoltage protection
    • Superior temperature stability
    • Resistant to physical stress
  • Operation from unregulated supplies, 2.8 to 24 V
  • Chopper stabilization
  • Solid-state reliability
  • Industry-standard packages and pinouts

Part Number Specifications and Availability