Switches and Latches
Automotive-Grade Planar and Vertical Hall-Effect Switches with Enhanced Protection
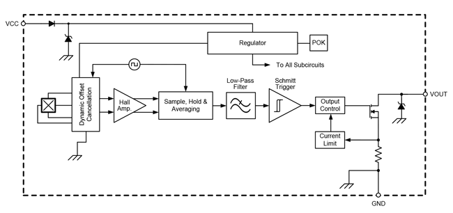
APS11000-60
The APS11000/60 family offers robust Hall-effect switching for automotive and industrial applications, with integrated protection against reverse battery, load dump, and other harsh environmental conditions.
Product Details
Product Details
Top Features
- Planar or vertical Hall-effect sensing
- 3.3 to 24 V operation; up to 40V absolute maximum
- Automotive-grade ruggedness and fault tolerance
- AEC-Q100 Grade 0 qualification
- Operation at –40°C to 175°C junction temperature
- Protected against over-voltage, load-dump, reverse battery, output shorts, and other EMC stresses
- Selectable magnetic thresholds & omnipolar or unipolar activation
- Open-drain output with choice of output polarity
Target Application
- Shift Selector
- Closure Systems
- Seat Position
- Throttle Position
- Wiper Systems
Part Number Specifications and Availability
Design Tools
Technical Documentation
Application Note
Handling, Storage, and Shelf Life of Semiconductor Devices
Application Note
Allegro Hall-Effect Sensor ICs
Application Note
Allegro Microsystems - Chemical Exposure of Devices
Guide
Hall-Effect IC Applications Guide
Guide
Guidelines for Designing Subassemblies Using Hall-Effect Devices
Technical Article