Magnetic Position Sensors

Miniature Linear Hall-Effect Sensor IC with Analog Output

ALS31001

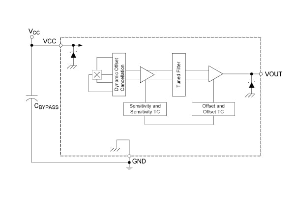
The ALS31001 provides high-accuracy linear Hall-effect sensing in a miniature through-hole package. It features temperature stability, high bandwidth, and low-noise analog output.

Product Details

Top Features

  • QVO temperature coefficient programmed at Allegro for improved accuracy
  • High-bandwidth, low-noise analog output
  • High-speed chopping scheme minimizes QVO drift across operating temperature range
  • Temperature-stable quiescent voltage output and sensitivity
  • Precise recoverability after temperature cycling

Part Number Specifications and Availability

Design Tools