Current-Sensor-ICs
200kHz, High-Accuracy Current Sensor IC with 100µΩ Conductor and 3.3V Operation
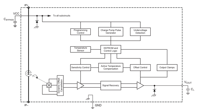
ACS773
The ACS773 offers accurate and efficient current sensing optimized for 3.3V operation, with a 200kHz bandwidth, fast response time (2.5µs), and reinforced galvanic isolation.
Product Details
Product Details
Top Features
- AEC-Q100 Grade 1 qualified
- Typical of 2.5 μs output response time
- 3.3 V supply operation
- Ultra-low power loss: 100 μΩ internal conductor resistance
- Reinforced galvanic isolation allows use in economical, high-side current sensing in high-voltage systems
- 4800 Vrms dielectric strength certified under UL60950-1
- Industry-leading noise performance with greatly improved bandwidth through proprietary amplifier and filter design techniques
- Integrated shield greatly reduces capacitive coupling from current conductor to die due to high dV/dt signals, and prevents offset drift in high-side, high-voltage applications
- Greatly improved total output error through digitally programmed and compensated gain and offset over the full operating temperature range
- Small package size, with easy mounting capability
- Monolithic Hall IC for high reliability
- Output voltage proportional to AC or DC currents
- Factory-trimmed for accuracy
- Extremely stable output offset voltage
- Available in ratiometric and non-ratiometric versions
Part Number Specifications and Availability
Technical Documentation
Application Note
Improved Performance and Features of Allegro’s Next Generation, High Power Density CB Package Current Sensors
Application Note
DC Current Capability and Fuse Characteristics of Current Sensor ICs with 50 to 200 A Measurement Capability
Application Note
Glossary of Isolation-Related Terms for Integrated Current Sensors
Brochure
Brochure: Battery Management Systems
Brochure
Comfort Through Sustainability - Unlock the Power of Heat Pump Innovation
Brochure
DC Fast Charging: Faster and Farther
Brochure
Robust and Efficient Power Supply Units (PSUs) for Cloud Infrastructure
Brochure
Cooling the Cloud
Brochure
Robust and Efficient UPS Solutions Powered by Allegro
Certificate
Certificate of Compliance 20170510-E316429
Certificate
Certificate CB US 42444 UL CB Package
Certificate