Brush DC Drivers

Dual Full-Bridge, Low-Voltage Motor Driver for Stepper and DC Motors

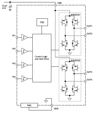
A3901

The A3901 efficiently drives two DC motors or a single stepper motor with its dual full-bridge design. Optimized for low voltage drop and power consumption, it supports currents up to ±800mA (paralleled outputs) and offers flexible control modes (forward, reverse, brake).

Product Details

Top Features

  • Low RDS(on) outputs
  • Full- and half-stepping capability
  • Small package
  • Forward, reverse, and brake modes for dc motors
  • Sleep mode with zero current drain
  • PWM control up to 250 kHz
  • Crossover-current protection
  • Thermal shutdown (TSD)

Part Number Specifications and Availability

Design Tools