Magnetic Position Sensors

Micropower Linear Hall-Effect Sensor ICs with Sleep Mode

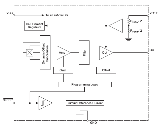
A1391-2-3-5

The A139x family of micropower Hall-effect sensors minimizes current consumption with a user-selectable sleep mode, ideal for battery-powered applications. Offers ratiometric output and temperature stability.

Product Details

Top Features

  • High-impedance output during sleep mode
  • Compatible with 2.5 to 3.5 V power supplies
  • 10 mW power consumption in the active mode
  • Miniature MLP package
  • Ratiometric output scales with the ratiometric supply reference voltage (VREF pin)
  • Temperature-stable quiescent output voltage and sensitivity
  • Wide ambient temperature range: –20°C to 85°C
  • ESD protection greater than 3 kV
  • Solid-state reliability
  • Preset sensitivity and offset at final test

Part Number Specifications and Availability