Current-Sensor-ICs
Low-Noise, High-Precision Linear Hall-Effect Sensor IC with Integrated Fault Comparator
A1365
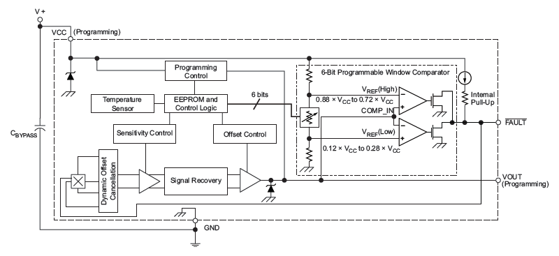
The A1365 provides high-accuracy current sensing with a self-test diagnostic mode, programmable offset and sensitivity, and an integrated fault comparator for enhanced system reliability.
Product Details
Product Details
Top Features
- Proprietary segmented linear temperature compensation (TC) technology provides a typical accuracy of 1% over the full operating temperature range
- Self-Test diagnostic mode can be used to achieve a high level of functional safety within a system
- 120 kHz nominal bandwidth achieved via proprietary packaging and chopper stabilization techniques
- Over Field Fault signal with 6-bit programmable trigger levels, 2-bit programmable hysteresis, and latching or non-latching behavior
- Over Field Fault response time < 4.5 μs (typ)
- Extremely low noise and high resolution achieved via proprietary Hall element and low-noise amplifier circuits
- Customer-programmable, high-resolution offset and sensitivity trim
- Available in a 1-mm-thick SIP through-hole package
- Factory-programmed sensitivity and quiescent output voltage TC with extremely stable temperature performance
- Selectable sensitivity range between 0.6 and 14 mV/G through use of coarse sensitivity program bits
- Ratiometric sensitivity, quiescent voltage output, and clamps enable simple interface with application A-to-D converter (ADC)
- Output voltage clamps provide short-circuit diagnostic capabilities
- Open-circuit detection on ground pin (broken wire)
- Undervoltage lockout for VCC below specification
- Wide ambient temperature range: –40°C to 150°C
Target Application
- High Voltage Traction Inverter & Motor
- Power Disconnect Unit
- Auxilary Inverter
Part Number Specifications and Availability
Technical Documentation
Application Note
Analysis of a Hall-Effect System With Two Linear Sensor ICs for 30 mm Displacement
Application Note
Guidelines for Designing a Concentrator for High-Current Sensing Applications with an Allegro Hall-Effect Sensor IC
Application Note
Hysteresis Mitigation in Current Sensor ICs Using Ferromagnetic Cores
Application Note
Glossary of Isolation-Related Terms for Integrated Current Sensors
Application Note