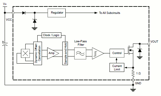
The A1250 is a highly sensitive Hall-effect latch/bipolar switch optimized for ring magnet sensing. It features chopper stabilization for superior temperature stability and robust performance in demanding applications.
Product Details
Product Details
Top Features
- AEC-Q100 automotive qualified
- High-speed, 4-phase chopper stabilization
- Low operating voltage down to 3 V
- High sensitivity
- Stable switchpoints
- Robust EMC
Part Number Specifications and Availability
Design Tools
Technical Documentation
Application Note
Handling, Storage, and Shelf Life of Semiconductor Devices
Application Note
Bipolar Switch Hall-Effect ICs
Application Note
Allegro Hall-Effect Sensor ICs
Application Note
Latching Switch Hall-Effect IC Basics
Application Note
Allegro Microsystems - Chemical Exposure of Devices
Guide
Hall-Effect IC Applications Guide
Guide
Guidelines for Designing Subassemblies Using Hall-Effect Devices
Technical Article