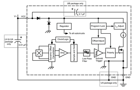
The A119x and A119x-F families offer programmable switchpoint accuracy for optimized performance in specific applications. Chopper stabilization ensures temperature stability, while the -F option adds temperature compensation for use with ferrite magnets.
Product Details
Product Details
Top Features
- Choice of factory-set temperature coefficient (TC) for use with ferrite or rare-earth magnets
- Field programmable for optimized switchpoints
- AEC-Q100 automotive qualified
- On-board voltage regulator: 3 to 24 V operation
- High-speed, 4-phase chopper stabilization
- Low switchpoint drift throughout temperature range
- Low sensitivity to thermal and mechanical stresses
- On-chip protection
- Supply transient protection
- Reverse-battery protection
- Industry-leading ISO 7637-2 performance through use of proprietary, 40 V clamping structure
- Solid-state reliability
- Robust EMC and ESD performance
- UB package with integrated 0.1 μF bypass capacitor
Target Application
- Shift Selector
- Seatbelt
- Seat Position
- Throttle Position
- HVAC
Part Number Specifications and Availability
Technical Documentation
Application Note
Handling, Storage, and Shelf Life of Semiconductor Devices
Application Note
Guidelines for Using Allegro Angular Sensors
Application Note
Vehicle Safety Systems
Application Note
Allegro Hall-Effect Sensor ICs
Application Note
Allegro Microsystems - Chemical Exposure of Devices
Guide
Hall-Effect IC Applications Guide
Guide
Guidelines for Designing Subassemblies Using Hall-Effect Devices
Technical Article